
Texas Instruments PCM2900C / PCM2902C USB Stereo Audio Codecs
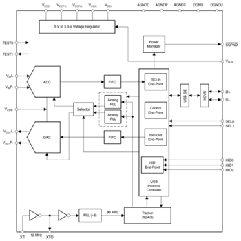
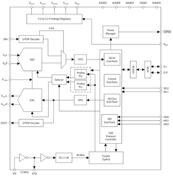
Texas Instruments PCM2900C and PCM2902C are single-chip, USB stereo audio codecs with a USB-compliant full-speed protocol controller. The PCM2902C also offers S/PDIF. TI PCM2900C and PCM2902C stereo audio codecs employ SpAct architecture for recovering the audio clock from USB packet data. On-chip analog PLLs with SpAct architecture enable playback and record with low clock jitter as well as independent playback and record sampling rates. The USB full-speed protocol controller included with these Texas Instruments stereo audio codecs requires no software code. The PCM2900C and PCM2902C are ideal for use in USB audio speaker, headset, monitor, and audio interface box applications.Features
- PCM2900C: Without S/PDIF
- PCM2902C: With S/PDIF
- On-Chip USB Interface
- With Full-Speed Transceivers
- Fully Compliant with USB 2.0 Specification
- Certified by USB-IF
- Partially Programmable Descriptors
- USB Adaptive Mode for Playback
- USB Asynchronous Mode for Record
- Bus Powered
- 16-Bit Delta-Sigma ADC and DAC
- Sampling Rate
- DAC: 32kHz, 44.1kHz, 48kHz
- ADC: 8kHz, 11.025kHz, 16kHz, 22.05kHz, 32kHz, 44.1kHz, 48kHz
- On-Chip Clock Generator with Single 12MHz Clock Source
- Single Power Supply
- 5V Typical (VBUS)
- Stereo ADC
- Analog Performance at VBUS = 5V:
- THD+N = 0.01%
Applications
- USB Audio Speaker
- USB Headset
- USB Monitor
- USB Audio Interface Box
Published: 2012-03-19
| Updated: 2022-03-11