STMicroelectronics ST7580 Multi-Mode Power Line SoC Devices

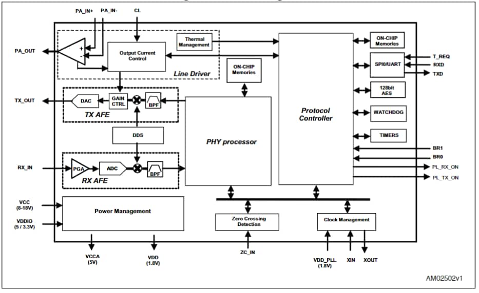
STMicroelectronics ST7580 Multi-Mode Power Line System-on-Chip (SoC) Devices are based on dual digital core architecture, a PHY processor engine, and a protocol controller core. These ST7580 SoC feature host controller UART interface up to 57.6kbps, AES-128 based authentication and confidentiality services, and zero crossing detection. The multi-mode power line SoC devices are suitable for EN50065, FCC part 15, and ARIB compliant applications. These ST7580 ICs operate from -40°C to +105°C temperature range. Typical applications for the STMicroelectronics ST7580 Multi-Mode Power Line System-on-Chip include command and control networking, smart metering, and street lighting control.

Features

  • Fully integrated narrow-band power line networking system-on-chip
  • High-performing PHY processor with embedded turnkey firmware featuring:
    • B-FSK modulation up to 9.6kbps
    • B-PSK, Q-PSK, 8-PSK modulations up to 28.8kbps
    • Dual channel operation mode
    • Convolutional error correction coding
    • Signal-to-noise ratio estimation
    • B-PSK with PNA mode against impulsive noise
  • Protocol engine embedding turnkey communication protocol:
    • Framing service
    • Error detection
    • Sniffer functionality
  • Host controller UART interface up to 57.6kbps
  • AES-128 based authentication and confidentiality services
  • Suitable for EN50065, FCC part 15, and ARIB compliant applications
  • Communication carrier frequency programmable up to 250kHz
  • VFQFPN48 exposed pad package
  • -40°C to 105°C operating temperature range

Applications

  • Smart metering
  • Street lighting control
  • Command and control networking

Block and Functional Diagrams

Dimensions

Mechanical Drawing - STMicroelectronics ST7580 Multi-Mode Power Line SoC Devices
Published: 2018-11-29 | Updated: 2023-02-24