NXP Semiconductors PCA9x I²C-Bus LED Drivers

NXP Semiconductors PCA9x I2C-Bus LED Drivers to offer unique blink modes and color mixing support. The PCA9551 LED driver blinks LEDs in I2C-bus and SMBus applications where it is necessary to limit bus traffic or free up the I2C-bus master's (MCU, MPU, DSP, chipset, etc.) timer. The internal oscillator has two programmable blink rates and requires only the initial set-up command to program them for each individual output. The NXP PCA9632 is an I2C-bus controlled 4-bit LED driver optimized for Red/Green/Blue/Amber (RGBA) color mixing applications. The RGBA color mixing offers individual brightness control mode, group dimming mode, and blink mode. The PCA9632 is in the new Fast-mode Plus (Fm+) family offers high frequency (up to 1MHz) and more densely populated bus operation (up to 4000pF).

Features

  • Internal power-on reset
  • Noise filter on SDA/SCL inputs
  • Edge rate control on outputs
  • No glitch on power-up
  • Supports hot insertion
  • An operating power supply voltage range of 2.3V to 5.5V
  • Latch-up testing is done to JEDEC Standard JESD78 which exceeds 100mA

PCA9551 Block Diagram

Block Diagram - NXP Semiconductors PCA9x I²C-Bus LED Drivers

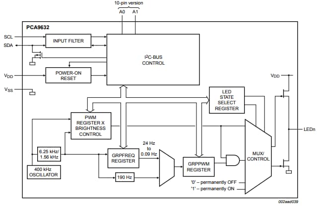
PCA9632 Block Diagram

Block Diagram - NXP Semiconductors PCA9x I²C-Bus LED Drivers
Published: 2011-12-15 | Updated: 2022-03-11